
波罗的海干散货指数跌1.13%,至1830点。
举报 第一财经告白互助,请点击这里此执动作第一财经原创,文章权归第一财经通盘。未经第一财经籍面授权,不得以任何姿首加以使用,包括转载、摘编、复制或成就镜像。第一财经保留讲究侵权者法律包袱的权力。如需获取授权请磋议第一财经版权部:banquan@yicai.com 磋议阅读
A股“13连阳”,散户、机构齐在入场个东说念主投资者一年加多2733.24万户,同比增长9.67%;机构新开A股账户10.4539万户,同比增长34.91%。
30 55分钟前
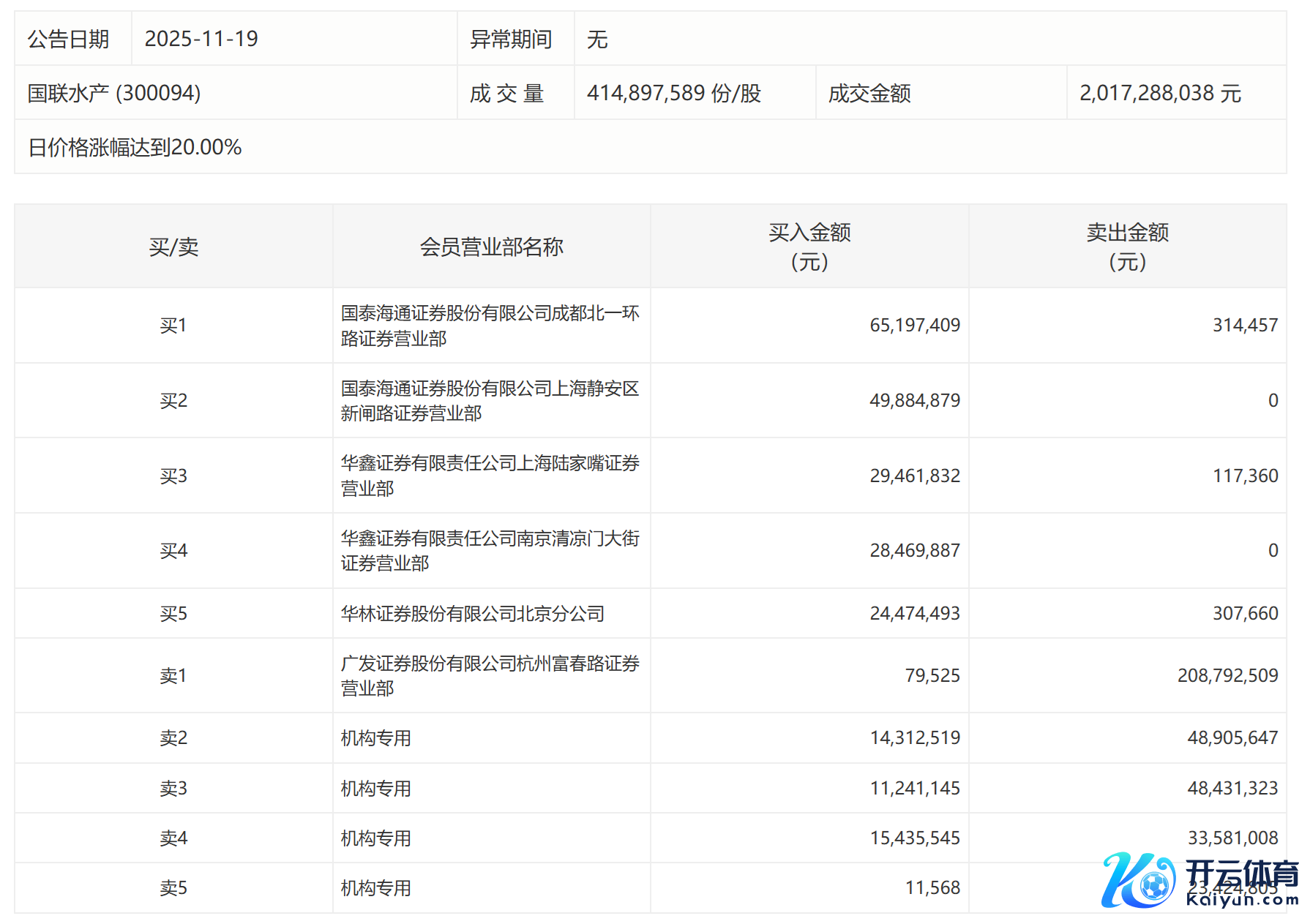
国联水产当天20%涨停,4家机构专用席位净卖出1.13亿元国联水产当天20%涨停,4家机构专用席位净卖出1.13亿元
0 2025-11-19 17:24
当天股市1113丨沪指刷新新高双创指数大涨 短期能否期待一波反弹? 374 2025-11-13 18:58
力星股份当天涨7.05%,4家机构专用席位净买入1.13亿元力星股份当天涨7.05%,4家机构专用席位净买入1.13亿元
0 2025-09-25 16:34
天空股份当天跌6.26%开云体育,有4家机构专用席位净卖出1.13亿元天空股份当天跌6.26%,有4家机构专用席位净卖出1.13亿元
0 2025-09-17 16:32 一财最热 点击关闭